F-1 副燃焼室

Honda 語り継ぎたいこと Cvccエンジン発表 1972

スーパーgt500クラスの過熱するエンジンウォーズ 秘密兵器プレチャンバー開発のf1と異なる難しさ スーパーgt Autosport Web

世良耕太のときどきf1その他いろいろな日々 Ssブログ


Ballade Sports Cr X 1983 6

悠々 On Twitter 東京モーターショーではマーレが噂の副燃焼室を展示してるそうで F1ではコレがどう最適化されて搭載されているのか 東京モーターショー2019 F1jp Https T Co L801zjjf6f Twitter

エンジン博士畑村耕一 過給リーンバーンの技術競争が始まった 自動車用パワートレーンの将来 マツダskyactiv Xの評価は Motor Fan モーターファン ページ 3 3

F1エンジンのジェット イグニッション インジェクター 技術を考察してみる F1モタスポgp Com

おー 凄いぞskyactiv X 燃焼室やピストン大幅進化 ちょい悪ひでおやじ

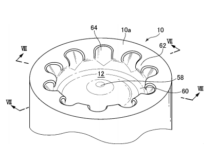
2021 067234号 副燃焼室を有する内燃機関 Astamuse

Motor Fan Illustrated Vol 150 発売中 三栄のプレスリリース
エンジン内の場所 シリンダヘッド 副燃焼室 予燃焼室
You have just read the article entitled F-1 副燃焼室. You can also bookmark this page with the URL : https://oreot3lu.blogspot.com/2022/02/f-1.html
0 Response to "F-1 副燃焼室"
Post a Comment